L'équitation en salle pourrait être sur le point de devenir encore plus réaliste, avec un nouveau brevet Wahoo suggérant que «le côté», le penchant pour le côté pourrait bientôt être une fonctionnalité sur un prochain vélo intelligent de la marque.
Le brevet, déposé plus tôt cette année et publié le mois dernier, est destiné à un «vélo d'exercice avec mécanisme de mouvement latéral» et semble être un produit inédit.
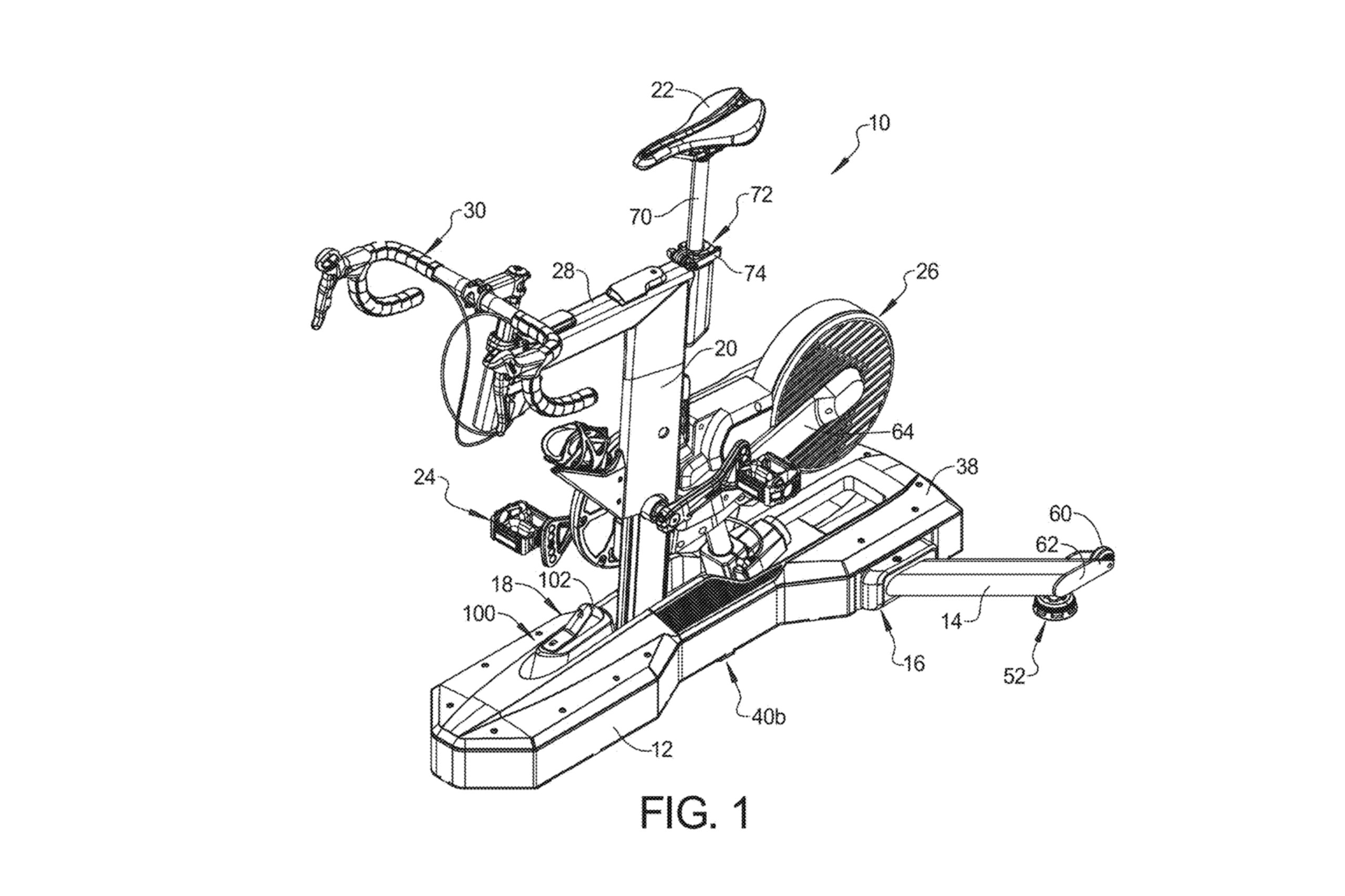
Les dessins de conception du vélo ressemblent étroitement à Kickr Bike Pro de Wahoo, qui a été publié ce mois-ci avec un nouvel outil de «simulation de qualité» pour l'escalade. Ce nouveau produit, cependant, a une base plus grande et plus solide contenant un mécanisme d'inclinaison latéralement.
Ce ne serait pas le premier vélo d'intérieur qui se penche, mais marquerait une innovation majeure pour Wahoo, basée à Atlanta, l'une des principales marques du marché, qui n'ont pas encore incorporé cette technologie.
Une description du produit dans le classement des brevets se lit comme suit: «Un entraîneur de vélo comprend une base à bascule ayant une surface inférieure avec une surface de bascule en forme d'arc. Une paire de pattes de support est chacune connectée à un côté de la base par un mécanisme d'inclinaison. Un cadre principal s'étend vers le haut de la base et prend en charge un siège. Un assemblée pédale est montée rotativement.
Écrivant dans le brevet, Wahoo dit que l'idée de l'entraîneur est venue en réponse au fait que les entraîneurs conventionnels «ne simulent pas adéquatement une sensation de pilote réaliste sur le vélo d'exercice».
En 2017, la marque a introduit son produit Kickr Climb, un outil qui s'attache aux fourches avant du vélo pour simuler les gradients d'escalade à l'intérieur. Cette technologie fait désormais partie de 3 499,99 £ Kickr Bike Pro de Wahoo – «l'expérience d'entraînement en salle la plus immersive à ce jour» – qui s'incline de haut en bas, simulant des inclinations jusqu'à 20%.
Le mouvement côte à côte a existé dans certains vélos d'exercice intérieurs dès 2020; Le vélo Vellocore de Bowflex a introduit son mécanisme penchant en 2020, tandis que Muov a lancé un vélo en 2022 qui inclinait jusqu'à 12 °.
S'appuyer sur un vélo d'exercice aiderait à exercer le noyau et le haut du corps, à améliorer la stabilité et à accroître le confort sur des promenades intérieures plus longues, en atténuant la pression statique sur les articulations du cavalier.
Au fil des ans, les utilisateurs de vélos intelligents ont cherché à réduire l'inconfort en utilisant des assiettes à bascule, de grandes planches sur lesquelles le vélo et l'entraîneur sont montés. Tout en permettant un mouvement plus naturel, ces plaques n'imitent pas complètement le mouvement penché qu'un cavalier éprouverait dans les virages à l'extérieur.
Comme pour tous les brevets, il n'y a aucune garantie que le dernier dépôt de Wahoo sera fait de la réalité. Le brevet sert à protéger la propriété intellectuelle de l'idée.
Contacté par Faire du vélo chaque semaineun porte-parole de Wahoo a déclaré: « Nous ne commençons pas notre future feuille de route, sauf pour dire que Wahoo innovait continuellement pour aider à réaliser notre mission de construire un meilleur athlète en chacun de nous. »
Explorer plus







